两日内6宗预申请地块火速“转正” 北京进入密集拍地期
扫描到手机,新闻随时看
扫一扫,用手机看文章
更加方便分享给朋友
北京土地供应“小步快走”,虽然未像去年集中供地一次推出十几宗地,但是供地节奏明显加速。仅5月11日、12日两天内,北京连续两天共挂牌6宗住宅用地,总起始价226.7亿元,全部是此前预申请用地“转正”而来,其中包括经开区X47R1“王炸”地块,起始价达68.8亿元。值得关注的是,海淀区四季青挂牌一大一小两地块,总起始价达86亿元,挂牌预申请用地的第二天就迅速“转正”,这在北京土地市场也是罕见的现象。
与此同时,5月12日又有4宗宅地进入预申请,总起始价超100亿元。由此,业内人士预计,6月份北京将进入密集“拍地期”。

北京土地供应“小步快走”,目前供地节奏明显加速。资料图片
“王炸”地块入市吸睛
5月12日,北京挂牌3宗住宅用地,分布于经开区、朝阳区、石景山区,总起始价131.1亿元,竞买申请截止时间为6月15日。在这三宗地中,就包括之前业内一直关注的“王炸”地块——经开区X47R1地块,其起始价为68.8亿元,上限价格为79.12亿元,销售期房指导价为7.7万元/平方米。不过该地块周边的二手房项目接近10万元,这一指导价格的出现,与周边二手房形成明显的“倒挂”,因此成为业内预期的热门地块。
与中海京叁号院相邻的经开区X47R1地块,位于亦庄河西区,用地规模约7.74公顷,建筑规模约17.8万平方米,容积率为2.3。由于地块规模较大,使得起始价达68.8亿元。该地块用地性质为R2二类居住用地,是一宗纯住宅地块,无配建。
经开区X47R1地块所在片区是亦庄成熟区域,热度一直居高不下。无论是教育配套还是生活配套都可圈可点,该地块西侧有区域重要的商业配套龙湖天街,教育资源也很丰富,比如人大附中、十一学校亦庄校区。该地块是在5月6日开始作为预申请用地出现在北京市规划和自然资源委员会网站,预申请受理时间自5月6日起至5月26日,不过,在短短几天时间就已“转正”挂牌,可见房企对于这一“王炸”地块非常看好。
与“王炸”地块同时进入预申请以及“转正”的地块还有石景山区广宁村棚户区改造项目。其位于石景山阜石路北侧,地块建筑规模约11.38万平方米,起始价32.3亿元。该地块用地性质为二类居住用地、托幼用地以及其他类多功能用地,设定土地合理上限价格37.145亿元,当竞买报价达到土地合理上限价格时,转为现场摇号方式确定竞得人。从石景山地块所在区域来看,介于五环至六环之间,目前在售项目包括长安润璟,销售指导价为7.48万元/平方米。
而在5月10日进行预申请的奶西村地块,也在5月12日“转正”。该地块土地面积约7.13万平方米,起始价为30亿元,用地性质为R2二类居住用地、U22环卫设施用地、B4综合性商业金融服务用地。本次挂牌出让宗地设定土地合理上限价格34.5亿元,现场竞报“现房销售”上限面积为1.2万平方米。此前朝阳区奶西村地块出让时皆获得多家房企报名竞拍,此时朝阳区在同一区域推出地块,其热度也在预期之中。
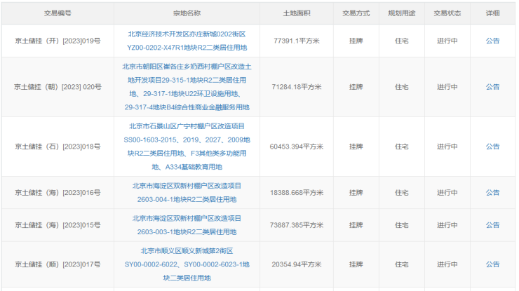
5月11日-12日北京挂牌6宗宅地一览

图/北京市规自委网站截图
四季青地块火速“转正”
值得关注的是,近期北京土地市场频繁挂牌,除了5月12日有3宗地“转正”外,5月11日,北京还挂牌3宗住宅用地,分布于海淀区、顺义区,总起始价95.6亿元。挂牌竞价截止时间为6月14日,这3宗地块也均为此前预申请用地。
其中,起始价较高的是位于四季青板块内的海淀区双新村棚户区改造项目2603-003-1地块。该地块位于海淀区四季青镇,土地面积约7.4万平方米,起始价69亿元,上限价格约79.35亿元。另一宗位于海淀区四季青镇的双新村棚户区改造项目2603-004-1地块,土地面积约1.8万平方米,起始价17亿元,上限价格19.55亿元。
这两宗地块均是5月10日挂牌的预申请住宅用地,当时的预申请受理时间自5月10日起至5月30日,但仅预申请一天就迅速“转正”,这种情况在北京土地市场上也是首次出现。两宗地块容积率均为1.05,控高在12米,无疑将是低密住宅。两宗地块销售指导价均为12.1万元/平方米,地块周边暂无新房在售,南边二手房项目均价均为10万+。
根据出让公告,上述两宗四季青地块中,面积较大的地块当竞买报价达到土地合理上限价格时,则不再接受更高报价,转为在此价格的基础上现场竞报地上实施超低能耗建筑面积程序,竞报面积上限为4.5万平方米,达到设定的上限面积时,转为现场摇号方式确定竞得人;而面积较小的地块仅竞报价格。
再推总价超百亿预申请宅地
值得关注的是,在预申请用地频频“转正”的同时,预申请用地也在不断更新。
5月12日,北京预申请用地又增加4宗住宅用地,起始总价超过100亿元。其中包括两宗通州地块,分别为北京城市副中心6003、6004地块,建筑控制规模为10.09万平方米,交易起始价为25.9亿元;北京城市副中心0062地块,建筑控制规模为7.37万平方米,交易起始价为14.3亿元。
此外,北京市丰台区地铁十九号线新宫车辆段综合利用项目居住用地,建筑控制规模为12.55万平方米,交易起始价为50亿元;北京大兴新城西片区居住用地,建筑控制规模为4.45万平方米,交易起始价为10亿元。
北京土地市场将迎集中成交
北京上一次土地挂牌是在4月28日,当时北京挂牌4宗住宅用地,总起始价约为86.45亿元。其中,两宗地块位于顺义,另外石景山和亦庄各有一宗地块,挂牌竞价截止时间为6月1日。由此算来,截至目前,6月份北京将有10宗地块成交。如果预申请地块快速“转正”,预期成交地块超过10宗,在业内人士看来,北京也将进入土地集中成交的阶段。
另据北京市规自委网站信息显示,自青塔街道地块出让规则调整之后,北京一直沿用最新的土地出让规则。土地出让文件中显示,同一集团成员企业不得同时报名竞买同一宗地;联合竞买的,同一集团成员企业仅可组成一个联合体参与同一宗地竞买;同一集团成员企业包括但不限于“与集团公司存在关联关系的公司(含全资公司、控股公司)”。这意味着北京仍将禁止多“马甲”竞买土地。
事实上,从北京土地市场来看,房企拿地热情明显高涨,积极补充土储是目前大多数企业的想法。这一现象在其他一二线城市的土拍中也可以看到。5月10日,厦门岛内2宗地块吸引了超百家房企报名参拍,其中五缘湾地块的报名主体数量达到88家,参与竞拍的房企数量创下近年来厦门土地出让的新高。
对此,易居企业集团CEO丁祖昱认为,一边是土储告急,一边是没能力或抢不到新增的优质土储,不少房企陷入“越不拿地越难卖”的困境。虽然土储规模不再是房企发展的决定性因素,但拿地投资仍然是房企得以继续生存与发展的前提,如何在控制成本的同时在核心城市适当补充优质土储,是所有房企都必须要认真考虑的问题。
新京报记者 袁秀丽
编辑 杨娟娟 校对 刘军
文章转载自:新京报
声明:本文由入驻焦点开放平台的作者撰写,除焦点官方账号外,观点仅代表作者本人,不代表焦点立场。
